Qingdao Ruichen tecnologia de vedação Co., Ltd.
Qingdao Ruichen tecnologia de vedação Co., Ltd.
Produtos
X

Selos de óleo TC

As vedações de lábio do eixo rotativo, comumente conhecidas como vedações de óleo, são instaladas na carcaça do rolamento e se movem em relação ao eixo rotativo. Um esqueleto metálico fornece suporte e uma mola aplica pré-carga radial ao lábio de vedação para evitar vazamento de lubrificante e a intrusão de contaminantes externos.

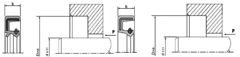
Estrutura e requisitos de instalação

1. Material do eixo: Comumente usados ​​são aço carbono e aço inoxidável. Para altas velocidades, é aplicado cromagem na superfície, HRC40-45.

2. Projeto do eixo giratório e das ranhuras: A superfície do eixo deve ser lisa e sem rebarbas. Marcas de usinagem em espiral podem criar um efeito de bombeamento, causando vazamentos. Recomenda-se que a área de montagem do retentor de óleo seja retificada até uma rugosidade superficial de Ra0,1-0,5µm, tornando-se mais lisa com o aumento da velocidade. Para facilitar a instalação e desmontagem, o eixo e as ranhuras devem ser projetados com chanfros ou bordas arredondadas. Veja as Figuras 1 e 2.

Altura de vedação

b

b1(0,85xb)

milímetros

b2(b+0,3)

milímetros

r

máx.

7

5.95

7.3

0.5

8

6.80

8.3

0.5

10

8.50

10.3

0.5

12

10.30

12.3

0.7

15

12.75

15.3

0.7

20

17.00

20.3

0.7

Figura 1. Projeto de chanfro de canal


d

d3

R

<10

d-1,5

2

10~20

d-2,0

2

20~30

d-2,5

3

30~40

d-3,0

3

40~50

d-3,5

4

50~70

d-4,0

4

70~95

d-4,5

5

95~130

d-5,5

6

130~240

d-7,0

8

240~500

d-11,0

12

500~800

d-14,0

14

800~1250

d-18,0

16

Figura 2 Projeto de chanfro do eixo rotativo


Fatores que afetam o desempenho das vedações labiais do eixo rotativo 

Existem dezenas de fatores que afetam o efeito de vedação. Além do próprio retentor de óleo, como seu material e estrutura, outros fatores como meio, temperatura, pressão, lubrificação, velocidade e rugosidade superficial também afetam diretamente o efeito de vedação, e esses fatores frequentemente interagem entre si. Os gráficos a seguir são apenas para referência do usuário.

Figura 3. Efeito da temperatura no retentor de óleo


Instalação: A instalação cuidadosa é um pré-requisito para o funcionamento adequado dos retentores de óleo.

Diagrama de instalação (instalação em cavidade)

Método de instalação correto

Condições de trabalho aplicáveis

Método de instalação incorreto

Este método só é aplicável quando a face final do retentor de óleo e a face final da cavidade estão niveladas. Quando o equipamento de prensagem opera rapidamente, o retentor deve estar posicionado corretamente; caso contrário, poderá ocorrer desalinhamento.

 

Este projeto é adequado para situações em que a face final do retentor de óleo é inferior à face final da cavidade. Mesmo com pressão rápida, o retentor de óleo ainda pode ficar bem posicionado. No entanto, este tipo de acessório carece de posicionamento radial, portanto a perpendicularidade axial da placa plana do dispositivo de pressão e do eixo de pressão deve atingir uma certa precisão.

Este método é adequado para situações em que a face final do retentor de óleo é inferior à face final da cavidade. Ao pressionar o equipamento rapidamente, é fundamental garantir que o retentor de óleo esteja posicionado corretamente; caso contrário, poderá ocorrer desalinhamento.


 

 


Este método só é adequado para condições de manutenção ou instalação simples onde o equipamento sob pressão não está disponível. Como não é possível obter uma prensagem absolutamente uniforme durante a instalação, vários problemas de instalação são inevitáveis. Ele foi projetado principalmente para evitar o desalinhamento radial durante a instalação, o que poderia deformar o retentor de óleo, ou para evitar danos à borracha da peça correspondente do retentor de óleo (círculo externo) devido a pausas durante a instalação. Portanto, este método de instalação geralmente não é recomendado.

 

Retentores de óleo TC/SC/TB/SB

Ambos consistem em uma estrutura metálica, uma mola e um corpo de borracha. A estrutura metálica fornece suporte e a mola aplica força radial ao lábio de vedação. Ambos os modelos TC e TB possuem uma borda auxiliar à prova de poeira, adequada para aplicações onde um lado contém o meio de vedação e o outro lado contém poeira. Os modelos TB/SB possuem um círculo externo de metal, tornando o retentor de óleo mais seguro e preciso dentro da cavidade. No entanto, a capacidade de vedação do círculo externo é limitada para meios gasosos e de baixa viscosidade; portanto, recomenda-se aplicar selante no círculo externo durante a instalação e uso.

Forma transversal

Modelo

Aplicativo

Pressão

Temperatura

Velocidade

Médio

Material

TC

Vedação, à prova de poeira

0,03MPa

-30~+160

20m/s

Óleo lubrificante e graxa

NBR/FKM + Aço Carbono

SC

Selagem

TB

Vedação, à prova de poeira

-30~+100

25m/s

Água, óleo lubrificante, graxa

NBR + Aço Carbono

SB

Selagem

Encomendar modelo TC-d*D*b

Especificação

Especificação

Especificação

Especificação

Especificação

Especificação

Especificação

TC-6*17*3,5

TC-9*25*7

TC-10*30*7

TC-12*25*10

TC-13*25*7

TC-14*32*8

TC-15*30*7

TC-7*18*7

TC-10*18*7

TC-11*22*7

TC-12*26*7

TC-13*26*7

TC-14*32*10

TC-15*30*8

TC-8*18*7

TC-10*19*7

TC-I1*25*7

TC-12*28*7

TC-13*28*7

TC-14*35*7

TC-15*30*10

TC-8*20*7

TC-10*20*5

TC-11*30*10

TC-12*28*8

TC-13*30*8

TC-14*35*8

TC-15*32*7

TC-8*22*7

TC-10*20*7

TC-12*19*3

TC-12*30*7

TC-14*24*7

TC-14*40*7

TC-15*32*10

TC-8*22*8

TC-10*22*5

TC-12*20*7

TC-12*30*10

TC-14*25*7

TC-15*22*8

TC-15*35*7

TC-8*25*7

TC-10*22*7

TC-12*21*7

TC-12*32*7

TC-14*26*7

TC-15*24*7

TC-15*35*8

TC-8*25*8

TC-10*22*8

TC-12*22*5

TC-12*32*10

TC-14*27*7

TC-15*25*5

TC-15*35*10

TC-8*30*7

TC-10*22*10

TC-12*22,5*5,5

TC-12*35*7

TC-14*28*7

TC-15*25*7

TC-15*38*7

TC-9*16*5

TC-10*24*7

TC-12*22*7

TC-12*35*10

TC-14*28*8

TC-15*25*8

TC-15*38*8

TC-9*18*7

TC-10*25*5

TC-12*22*8

TC-12,7*22,22*5

TC-14*28*10

TC-15*26*7

TC-15*38*10

TC-9*19*7

TC-10*25*7

TC-12*24*6

TC-12,7*25,4*7

TC-14*29*7

TC-15*27*7

TC-15*40*8

TC-9*20*7

TC-10*25*10

TC-12*24*7

TC-12.7*26*8

TC-14*30*7

TC-15*27*8

TC-15*40*10

TC-9*22*7

TC-10*26*7

TC-12*25*7

TC-12.7*30*8

TC-14*30*10

TC-15*28*7

TC-15*42*7

TC-9*24*7

TC-10*28*7

TC-12*25*8

TC-13*23*7

TC-14*32*7

TC-15*28*10

TC-15*42*8

 




Hot Tags: Selos de óleo TC
Enviar consulta
Informações de contato
Obtenha preços competitivos, suporte técnico e respostas rápidas. Envie suas especificações para a Ruichen para soluções de vedação personalizadas. Amostras gratuitas disponíveis.
X
Utilizamos cookies para lhe oferecer uma melhor experiência de navegação, analisar o tráfego do site e personalizar o conteúdo. Ao utilizar este site, você concorda com o uso de cookies. política de Privacidade
Rejeitar Aceitar