Qingdao Ruichen tecnologia de vedação Co., Ltd.
Qingdao Ruichen tecnologia de vedação Co., Ltd.
Produtos
X

Anel limpador

A vedação contra poeira combinada de lábio duplo lançada pela Ruichen Seal (um conhecido fabricante e fornecedor de vedação de haste de pistão na China) é composta por um anel de vedação de PTFE preenchido e um O-ring. Possui proteção bidirecional contra poeira e funções automáticas de compensação de desgaste, baixo atrito, longa vida e forte adaptabilidade, e é amplamente utilizado em vários cenários de movimento industrial, como alternativo, oscilante e espiral.

Desempenho e aplicações

A vedação raspadora combinada de lábio duplo é uma vedação raspadora bidirecional que consiste em um anel raspador de lábio duplo preenchido com PTFE e um O-ring. O O-ring fornece pré-carga, compensando o desgaste do anel de PTFE. É adequado para movimentos alternativos, oscilantes ou espirais.


Condições Operacionais

Pressão MPa

Temperatura °C

Velocidade m/s

Médio

-

-35~+100 (anel de vedação NBR correspondente)

6

Óleo hidráulico, emulsão, água, etc.

-20~+200 (anel de vedação FKM correspondente)


Exemplo de pedido

Encomende o modelo RCF02-80-PTFE3-R01

RCF02 - Modelo 80 - Diâmetro do eixo PTFE3 - PTFE modificado para uso geral RO1 - Código de material de borracha correspondente

Nitrila (NBR) - R01, Fluorcarbono (FKM) - RO2

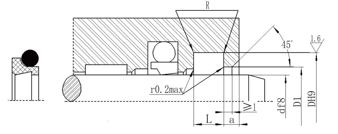
Tabela de parâmetros de especificação (produtos de qualquer tamanho dentro da faixa de parâmetros podem ser fornecidos)

Faixa de diâmetro do eixo df8

Diâmetro da ranhura D H9

Largura da ranhura eu+0.2

Diâmetro do furo aberto

D1H11

Largura do furo aberto uma≥

Cantos arredondados R≤

Diâmetro do fio do anel de vedação

d0

4~11

d+4,8

3.7

d+1,5

2

0.4

1.80

12~64

d+6,8

5.0

d+1,5

2

0.7

2.65

65~250

d+8,8

6.0

d+1,5

3

1.0

3.55

251~420

d+12,2

8.4

d+2,0

4

1.5

5.30

421~650

d+16,0

11.0

d+2,0

4

1.5

7.00

651~1500

d+20,0

14.0

d+2,5

5

2.0

8.60


Hot Tags: Anel limpador
Enviar consulta
Informações de contato
Obtenha preços competitivos, suporte técnico e respostas rápidas. Envie suas especificações para a Ruichen para soluções de vedação personalizadas. Amostras gratuitas disponíveis.
X
Utilizamos cookies para lhe oferecer uma melhor experiência de navegação, analisar o tráfego do site e personalizar o conteúdo. Ao utilizar este site, você concorda com o uso de cookies. política de Privacidade
Rejeitar Aceitar