|
Pressão/MPa |
Temperatura /°C |
Velocidade /m/s |
Médio |
|
≤40 |
-35~+100 (com anéis de vedação NBR correspondentes) |
≤2 |
Óleo hidráulico, emulsão, água, gás, etc. |
-20~+200 (com anéis de vedação FKM correspondentes) |
1. Os materiais de anel de vedação adequados incluem: borracha de nitrila butadieno R01 (NBR), borracha fluorada R02 (FKM), etc.
2. Materiais do anel de vedação: Materiais padrão PTFE3 e PTFE4; outros materiais opcionais incluem PTFE1, PTFE2 e PTFE5.
Ruichen realizou pesquisa, desenvolvimento e produção independentes desde o início das matérias-primas, realizando o controle de toda a cadeia de produtos.
1. Plásticos de engenharia e materiais compósitos: Tomamos o politetrafluoroetileno (PTFE) como núcleo, desde a mistura, sinterização até a moldagem, produção independente de todos os tipos de tubos e hastes de materiais compósitos modificados preenchidos e, em seguida, processamento de precisão em vedações. Isso garante estabilidade e personalização das propriedades do material.
2. Elastômero de poliuretano de alto desempenho: Começamos com a fundição de pré-polímero, produzimos independentemente tubos e hastes de poliuretano de alta qualidade e os processamos em vários tipos de vedações, que são excelentes em resistência ao desgaste, resistência à pressão e resistência à hidrólise.
Exemplo de pedido
Modelo de pedido RC2054—80×69×4.2—PTFE3—R01 Modelo-D*d*L- Código do material Modelo de pedido RCX18—80×69x4.2—HPU Modelo-D*d*L- Código do material
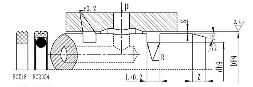
Tabela de especificações e parâmetros (qualquer especificação dentro da faixa de parâmetros está disponível)
|
Faixa de abertura DH9 |
Diâmetro da vala dh9 |
Largura da vala L+0,2 |
Folga radial Smax |
Cantos arredondados Rmáx. |
Chanfro Zmin |
|
|
0~10Mpa |
10~20Mpa |
|||||
|
8~39 |
D-4.9 |
2.2 |
0.15 |
0.1 |
0.4 |
2 |
|
40~79 |
D-7,5 |
3.2 |
0.2 |
0.15 |
0.6 |
3 |
|
80~132 |
D-11.0 |
4.2 |
0.25 |
0.2 |
1.0 |
4 |
|
133~329 |
D-15,5 |
6.3 |
0.3 |
0.25 |
1.3 |
5 |
|
330~669 |
D-21.0 |
8.1 |
0.3 |
0.25 |
1.8 |
7 |
|
670~1500 |
D-28,0 |
9.5 |
0.45 |
0.3 |
2.0 |
8 |
|
D |
d |
L |
D |
d |
L |
D |
d |
L |
D |
d |
L |
|
8 |
3.1 |
2.2 |
50 |
42.5 |
3.2 |
170 |
154.5 |
6.3 |
380 |
359.0 |
8.1 |
|
10 |
5.1 |
2.2 |
55 |
47.5 |
3.2 |
180 |
164.5 |
6.3 |
390 |
369.0 |
8.1 |
|
12 |
7.1 |
2.2 |
60 |
52.5 |
3.2 |
190 |
174.5 |
6.3 |
400 |
379.0 |
8.1 |
|
14 |
9.1 |
2.2 |
63 |
55.5 |
3.2 |
200 |
184.5 |
6.3 |
420 |
399.0 |
8.1 |
|
15 |
10.1 |
2.2 |
65 |
57.5 |
3.2 |
210 |
194.5 |
6.3 |
450 |
429.0 |
8.1 |
|
16 |
11.1 |
2.2 |
70 |
62.5 |
3.2 |
220 |
204.5 |
6.3 |
480 |
459.0 |
8.1 |
|
18 |
13.1 |
2.2 |
75 |
67.5 |
3.2 |
230 |
214.5 |
6.3 |
500 |
479.0 |
8.1 |
|
20 |
15.1 |
2.2 |
80 |
69.0 |
4.2 |
240 |
224.5 |
6.3 |
520 |
499.0 |
8.1 |
|
22 |
17.1 |
2.2 |
85 |
74.0 |
4.2 |
250 |
234.5 |
6.3 |
550 |
529.0 |
8.1 |
|
24 |
19.1 |
2.2 |
90 |
79.0 |
4.2 |
260 |
244.5 |
6.3 |
600 |
579.0 |
8.1 |
|
25 |
20.1 |
2.2 |
95 |
84.0 |
4.2 |
270 |
254.5 |
6.3 |
630 |
609.0 |
8.1 |
|
28 |
23.1 |
2.2 |
100 |
89.0 |
4.2 |
280 |
264.5 |
6.3 |
650 |
629.0 |
8.1 |
|
30 |
25.1 |
2.2 |
105 |
94.0 |
4.2 |
290 |
274.5 |
6.3 |
670 |
642.0 |
9.5 |
|
32 |
27.1 |
2.2 |
110 |
99.0 |
4.2 |
300 |
284.5 |
6.3 |
700 |
672.0 |
9.5 |
|
35 |
30.1 |
2.2 |
115 |
104.0 |
4.2 |
310 |
294.5 |
6.3 |
750 |
722.0 |
9.5 |
|
36 |
31.1 |
2.2 |
120 |
109.0 |
4.2 |
320 |
304.5 |
6.3 |
800 |
772.0 |
9.5 |
|
38 |
33.1 |
2.2 |
125 |
114.0 |
4.2 |
330 |
309.0 |
8.1 |
1000 |
972.0 |
9.5 |
|
40 |
32.5 |
3.2 |
130 |
119.0 |
4.2 |
340 |
319.0 |
8.1 |
|
|
|
|
42 |
34.5 |
3.2 |
140 |
124.5 |
6.3 |
350 |
329.0 |
8.1 |
|
|
|
|
45 |
37.5 |
3.2 |
150 |
134.5 |
6.3 |
360 |
339.0 |
8.1 |
|
|
|
|
48 |
40.5 |
3.2 |
160 |
144.5 |
6.3 |
370 |
349.0 |
8.1 |
|
|
|
Nota: As especificações necessárias não estão listadas aqui; entre em contato com nossa empresa. Oferecemos produtos com diâmetro máximo de 2800mm.



Endereço
No.1 Ruichen Road, Parque Industrial Dongliuting, distrito de Chengyang, cidade de Qingdao, província de Shandong, China
Tel